Expand Minimize Picture-in-picture Power Device Status Voice Recognition Skip Back Skip Forward Minus Plus Play Search
Internet Explorer alert
This browser is not recommended for use with smartdevicelink.com, and may not function properly. Upgrade to a different browser to guarantee support of all features.
close alert
To Top Created with Sketch. To Top
To Bottom Created with Sketch. To Bottom
HMI Documentation
AlertManeuver

AlertManeuver

Type
Function
Sender
SDL
Purpose
Announce a navigation maneuver.

SDL sends AlertManeuver together with TTS.Speak. The purpose of this RPC is to notify the embedded navigation system about the next navigation maneuver.

May
  1. Notify the user by TTS.Speak, which is sent along with AlertManeuver.
  2. Display the AlertManeuver dialog with an alert icon and one of the following:
    • Up to three soft buttons defined within the softButtons paremeter.
    • HMI-defined Close soft button if a request without softButtons is received.
  3. Process SystemContext behavior for AlertManeuver in the same way an Alert is handled.
Must

UI.OnSystemContext appID rules if AlertManeuver causes SystemContext updates:

  1. appID should not be sent for MENU and HMI_OBSCURED system contexts. Only apps in FULL should receive these updates.
  2. If the HMI sends appID with UI.OnSystemContext(MENU or HMI_OBSCURED), appID is ignored and the notification is transferred to the application that is in FULL.
  3. UI.OnSystemContext's appID parameter should be mandatory for MAIN and ALERT values. If no appID is sent for this case, the notification will be ignored by SDL.
Note

If the HMI does not respond to SDL's request, after the default timeout occurs SDL will send GENERIC_ERROR to the corresponding mobile application.

Request

Parameters

Name Type Mandatory Additional
softButtons Common.SoftButton false array: true
minsize: 0
maxsize: 3
appID Integer true

Response

Parameters

This RPC has no additional parameter requirements

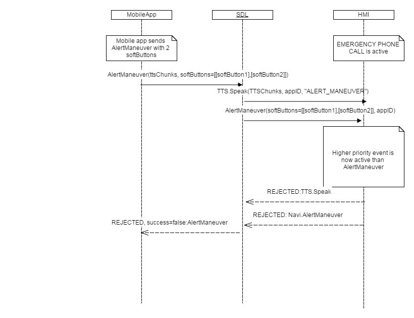
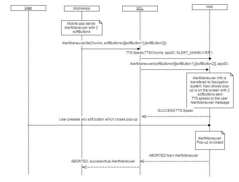
Sequence Diagrams

Example Request

{
  "id": 143,
  "jsonrpc": "2.0",
  "method": "Navigation.AlertManeuver",
  "params": {
    "softButtons": [
      {
        "type": TEXT,
        "text": "Leave Onscreen",
        "softButtonID": 45,
        "systemAction": KEEP_CONTEXT
      },
      {
        "type": TEXT,
        "text": "Close",
        "softButtonID": 46,
        "systemAction": STEAL_FOCUS
      }
    ]
  },
  "appID": 96
}

Example Response

{
  "id" : 143,
  "jsonrpc" : "2.0",
  "result" :
  {
    "code" : 0,
    "method" : "Navigation.AlertManeuver"
  }
}

Example Error

{
  "id" : 143,
  "jsonrpc" : "2.0",
  "error" :
  {
    "code" : 13,
    "message" : "The command cannot be executed because there is NO app registered with the specified appID",
    "data" :
    {
      "method" : "Navigation.AlertManeuver"
    }
  }
}
View on GitHub.com
Previous Section Next Section