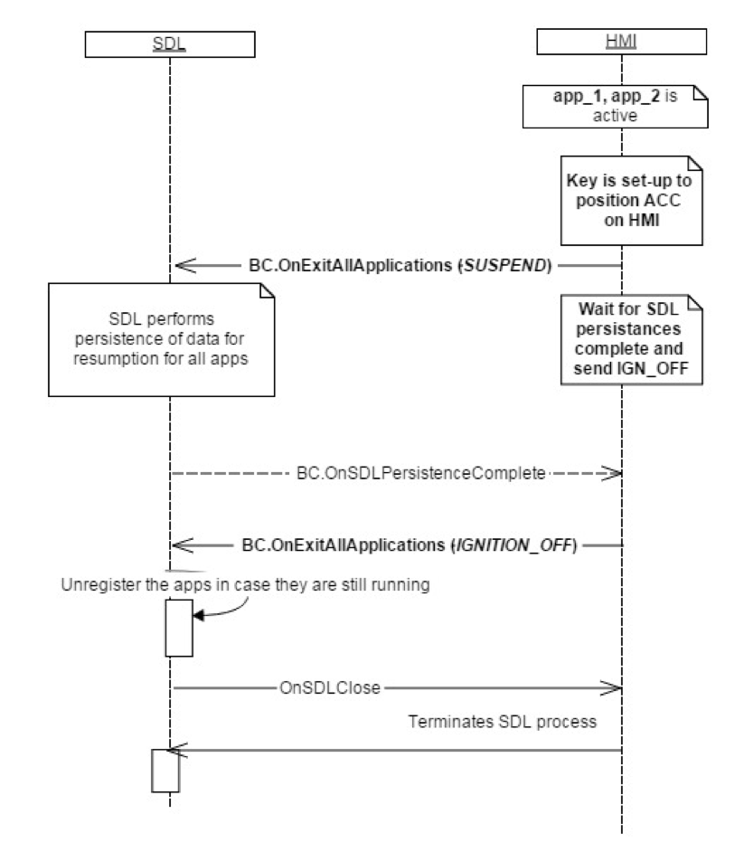
SDL requires this notification in order to accurately close the sessions with registered applications before reloading or shutting down based on the user's actions.
OnExitAllApplications with the appropriate reason upon one of the users's actions:| Name | Type | Mandatory | Additional |
|---|---|---|---|
| reason | Common.ApplicationsCloseReason | true |
{ "jsonrpc" : "2.0", "method" : "BasicCommunication.OnExitAllApplications", "params" : { "reason" : "IGNITION_OFF" } }