Expand Minimize Picture-in-picture Power Device Status Voice Recognition Skip Back Skip Forward Minus Plus Play Search
Internet Explorer alert
This browser is not recommended for use with smartdevicelink.com, and may not function properly. Upgrade to a different browser to guarantee support of all features.
close alert
To Top Created with Sketch. To Top
To Bottom Created with Sketch. To Bottom
HMI Documentation
UpdateDeviceList

UpdateDeviceList

[TODO: looking for feedback on how to do format this section]
  • Method: BasicCommunication.UpdateDeviceList
  • Sender: SDL
  • Purpose: Update HMI's list of known, connected devices

The UpdateAppList request is sent after SDL has found a new device over one of the available transports.

Note

The SDL's default Transport Manager (TM) and Transport Adapters (TA) behave in the following way.

  1. Bluetooth Transport
    • TM performs a periodic search over Bluetooth.
    • Once the device is found, SDL starts the procedure of searching for SDL Enabled Applications on the device.
    • SDL Sends BasicCommunication.UpdateDeviceList with the name and id of the discovered device to the HMI.
    • SDL needs to receive OnDeviceChosen(deviceInfo) or OnFindApplications(deviceInfo) from the HMI to allow registering applications which are running on the connected device.
    • SDL allows registration of applications on the named device and sends BasicCommunication.OnAppRegistered to the HMI
    • SDL sends BasicCommunication.UpdateDeviceList to HMI when iOS device was connected over Bluetooth with applications registered and running on SDL and was also connected over USB.
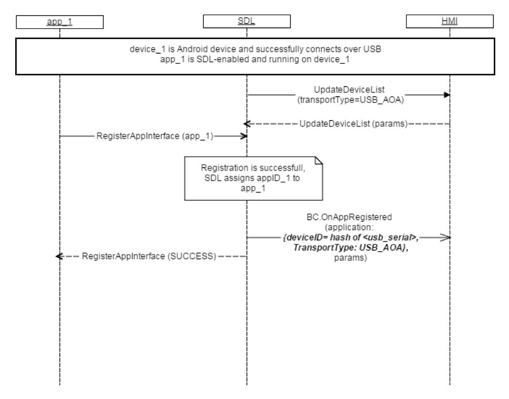
  2. USB Transport (AOA)
    • SDL learns about a new device connected over USB (A notification to the TA from the OS)
    • SDL Sends BasicCommunication.UpdateDeviceList with the name, id, and TransportType (AOA, iOS) of the discovered device to the HMI.
    • SDL sends BasicCommunication.OnAppRegistered to the HMI and does not wait for OnDeviceChosen or OnFindApplications notifications
  3. Wifi Transport
    • SDL learns about a new device connected over Wifi
    • SDL sends BasicCommunication.UpdateDeviceList with the name and id of the discovered device to the HMI
    • SDL sends BasicCommunication.OnAppRegistered to the HMI and does not wait for OnDeviceChosen or OnFindApplications notifications
  4. Cloud App Websockets
    • The application manager queries the policy table for cloud app policy entries
    • For each policy table entry, the websocket transport adapter creates a cloud device for each cloud application.
    • SDL sends BasicCommunication.UpdateDeviceList with the names, IDs, and transportType: CLOUD_WEBSOCKET for each cloud device

Behavior

Must
  1. Update list of connected devices (i.e. store the provided information)
  2. Use the information when providing OnDeviceChosen and OnFindApplications notifications
  3. Provide the user with the possibility of choosing among the found devices through either display, voice recognition or both.

Request

Parameters

Name Type Mandatory Additional
deviceList Common.DeviceInfo true array: true
minsize: 0
maxsize: 100

Response

Parameters

This RPC has no additional parameter requirements

Example Request

{
  "id" : 64,
  "jsonrpc" : "2.0",
  "method" : "BasicCommunication.UpdateDeviceList",
  "params" :
  {
    "deviceList" :
    [      
      {
        "name" : "Jerry`s Phone",
        "id" : 3
      },

      {
        "name" : "XT910",
        "id" : 4
      }
    ]
  }
}

Example Response

{
  "id" : 64,
  "jsonrpc" : "2.0",
  "result" : {
    "code" : 0,
    "method" : "BasicCommunication.UpdateDeviceList"
  }
}

Example Error

{
  "id" : 64,
  "jsonrpc" : "2.0",
  "error" : {
    "code" : 11,
    "message" : " The data sent is invalid.",
    "data" : {
      "method" : "BasicCommunication.UpdateDeviceList"
    }
  }
}

Sequence Diagrams

View on GitHub.com
Previous Section Next Section