Expand Minimize Picture-in-picture Power Device Status Voice Recognition Skip Back Skip Forward Minus Plus Play Search
Internet Explorer alert
This browser is not recommended for use with smartdevicelink.com, and may not function properly. Upgrade to a different browser to guarantee support of all features.
close alert
To Top Created with Sketch. To Top
To Bottom Created with Sketch. To Bottom
HMI Documentation
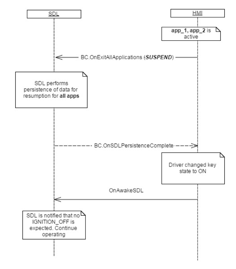
OnAwakeSDL

OnAwakeSDL

Type
Notification
Sender
HMI
Purpose
Notify SDL to return to normal operation after a suspend event.

This notification is sent to SDL to notify that there won't be IGNITION_OFF sent after OnExitAllApplications(SUSPEND), which was previously sent by the HMI.

May
  1. Send OnAwakeSDL if the ACC does not change, but the driver door is opened and closed two times.
  2. Send OnAwakeSDL ifif the ACC key position is set to On.

Sequence Diagrams

JSON Example Notification

{
  "jsonrpc" : "2.0",
  "method" : "BasicCommunication. OnAwakeSDL"
}
View on GitHub.com
Previous Section Next Section