Expand Minimize Picture-in-picture Power Device Status Voice Recognition Skip Back Skip Forward Minus Plus Play Search
Internet Explorer alert
This browser is not recommended for use with smartdevicelink.com, and may not function properly. Upgrade to a different browser to guarantee support of all features.
close alert
To Top Created with Sketch. To Top
To Bottom Created with Sketch. To Bottom
HMI Documentation
OnExitAllApplications

OnExitAllApplications

Type
Notification
Sender
HMI
Purpose
Inform SDL to exit every registered application.

SDL requires this notification in order to accurately close the sessions with registered applications before reloading or shutting down based on the user's actions.

Must
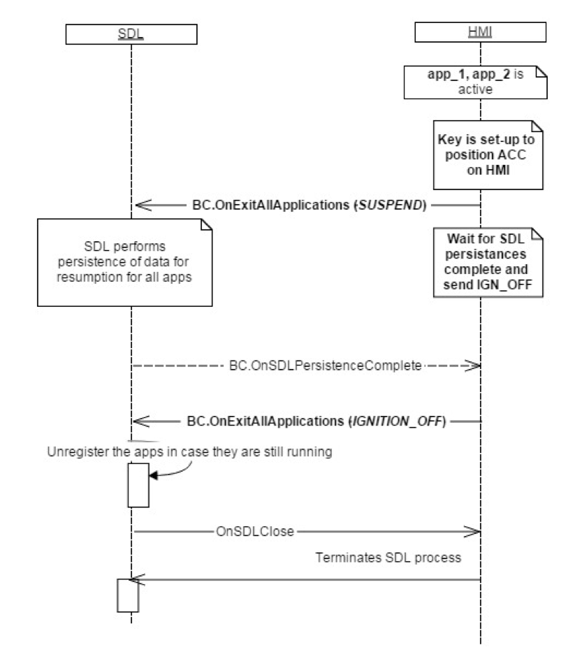
  • Send OnExitAllApplications with the appropriate reason upon one of the users's actions:
    • Master Reset
    • Key set to Ignition Off (Refer to the diagram below).
    • Key set to Suspend (Refer to the diagram below).
    • Key set to ACC

Notification

Parameters

Name Type Mandatory Additional
reason Common.ApplicationsCloseReason true

Sequence Diagrams

JSON Example Notification

{
  "jsonrpc" : "2.0",
  "method" : "BasicCommunication.OnExitAllApplications",
  "params" :
  {
    "reason" : "IGNITION_OFF"
  }
}
View on GitHub.com
Previous Section Next Section